Bestil afhentning af varer til slibning

Venligst oplys afhentningsadresse og kontaktoplysninger eller klik her for at se hvilken dag vi kører i dit område.

Bestil servicetekniker til din maskine
Venligst oplys kontaktoplysninger, adresse, maskine og ønske til dato. Vi kontakter dig hurtigst muligt for endelig aftale


Varer ex. moms
Klingeguide

Klingeguide

Få et godt råd med på vejen, når du vælger savklinge

Vælg den klinge, som passer til dit behov

For at finde frem til den type klinge, som du skal bruge, skal du huske at spørge dig selv om følgende:
  • Hvilken spånvinkel skal jeg vælge?                               
  • Hvilken tandtype passer til hvilket materiale            
  • Hvilket tandantal skal klingen have?                    
  • Hvordan skal pindhullerne være placeret? 

Alle de spørgsmål, du måtte have, kan du finde svar på i guiden nedenunder

Find fejlen – fejlsøgning

Nederst på siden forklarer vi om de mest almindelige årsager til, at en klinge ikke vil skære ordentligt. Håber, at oversigten kan være dig til hjælp, næste gang du har problemer med en savklinge.  

Få et godt råd med på vejen
Hos Junget tilbyder vi et komplet sortiment af klinger og hjælper dig gerne med at finde præcis den klinge, som passer til dit behov. Vi tilbyder klinger i alle kvaliteter og prisklasser. Se sortimentet her.

 

  

Spånvinkel

Spånvinklen skal passe til det materiale, der skal saves i og til den bearbejdning, der skal laves. Baseret på vores erfaringer anbefaler vi følgende spånvinkler ved nedenstående materialer og forarbejdninger.

Negativ 5-10°: Kapning af træ i pendul- og parallelsav samt kantlistekapning.

Negativ 5°: Savning af aluminium, plast og laminat ved manuel fremføring.

5-7°: Savning af hård plast, finer, laminat og krydsfiner samt gerings savning af træ og aluminium ved mekanisk fremføring.

10-15°: Kapning af træ samt formatsavning af træfiber, gips, spånplader og krydsfiner.

20°: Kapning af råtræ.

25-30°: Kapning og kantning af råtræ.

 

 

 

  

Tandtyper

AA / FZ Fladtand
Anvendes primært til kløvning af træ men kan også bruges til lamelsavning og kantning. Kan anvendes med høj fremføringshastighed ved normale krav til snitkvaliteten.

 

 

BA / WZ Vekselslebet tænder
Til kløvning og kapning af træ, plademateriale og plast.

 

 

 

 

BD
Krydsslebne tænder med vekselvis front velegnet til plade- og papmaterialer.

 

 

 

BAE / WZ-FA
Krydslebne tænder med fas til tynde hårde plastmaterialer.

 

 

 

 

CA / ES 
 
Samtlige tænder er skråslebne til venstre. Anvendes til forridsning, tapning, kantlistekapning og formatsavning af plader, monteres sammen med spånknuser.

 

 

 

 

DA / ES
Samtlige tænder er skråslebne til højre. Anvendes til forridsning, tapning, kantlistekapning og formatsavning af plader, monteres sammen med spånknuser. 

 

 

 

EAXH / HZ/DZ/FZ 
Hver anden tand spidsslebet, og hver anden flad. Alle tænder med hulslebet bryst.
Til savning af lakerede og belagte plader.

 

 

 

 

RA / KON/FZ
Flad tand med koniske sider. Et oplagt valg, som forridserklinge på en formatsav.

EAM

Til skæring af aluminium. 

 

 

 

 

 

 

 

EAX / FZ/DZ

Hver anden tand flad, hver anden spids,til savning af belagte plader.

 

 

EA/EAM F/tv. Trapez/Flad trapez
For- og efterskærende tænder. Hver anden tand er trapezslebet, og hver anden slibes lige, så spånen deles i tre stykker.

 

 

EA
Velegnet til savning af belagte og ubelagte spån-træfiber- og MDF-plader. Også egnet til bearbejdning af plast og laminat.

 

 

 

Valg af tandantal

Tanddelingen bestemmes af tykkelsen på det materiale, som skal saves. Generelt gælder det, at tynde materialer saves med lille tanddeling og tykke materialer med stor tanddeling.

Mindst to og max. fire tænder skal altid være i indgreb ved savning i massivt træ. For øvrige materialer gælder to til seks tænder             

Betegnelser

Til forskellige savopgaver findes klinger med special udformning. Dette angives med nedenstående betegnelser.

B = Rund ryg

C = E- kølehul i klingekroppen

D = Kobbernit i slidshullet

G = Gruppetandede klinger

K = Kølehul i klingekroppen

L = Laserspor i klingekroppen

R = Klinger med renseskær

S = Klinger med rensetand

 

 

 

 

 

 

 

 

  

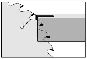
Klinger med pinhul

Sådan opmåler du pinhul og kilespor

Pinhul:

  • Antal pinhuller
  • Pinhullets diameter (d1)
  • Delingscirkel (D/C)

Kilespor: 

  • Antal kilespor (K)
  • Kilesporets bredde (X)
  • Kilesporets dybde (Y)

Klinger med skruehul

Ved bestilling af disse klinger bør tegning altid vedlægges. I modsat fald må følgende angives:

  • Fabrikat på knuseren etc.
  • Antal skruehuller (S) og indbyrdes positioner (A)
  • Skruehullets delingscirkel (D/C)
  • Skruehullets forsænkning,  højre (C) eller  venstre (D), med klingen vendt så tænderne i overkant vender mod dig
  • Skruehullets forsænkningsvinkel (V) alternativt mål (E)
  • Skruens dimension (eks. M6, M8)

 

 

 

 

 

 

 

Vinkelbetegnelse

α= Frivinkel

β= Kilevinkel

γ= Spånvinkel

α1= Tangentiel slibevinkel

α2= Radial slibevinkel

ε1= Aksvinkel

ε2= Bagfasvinkelv

 

 

Fejlsøgning - Når noget går galt

Oplever du, at en klinge skærer dårligt, kan det skyldes én af følgende årsager:

Vibrationer i klingen - dårligt snit:
- Dårlige lejer i spindlen ujævne flanger eller mellemlægsringe forkert centerhul ubalance i klingen

Brændemærker på stambladet med ensartede punkter
- 
Ujævne snit, spindelen kaster, klingen er ikke plan

Brændemærker på stambladet med ring af punkter
- 
Forkert stræk i klingen, indføring ikke parallel, forkert spaltekniv

Klingen giver et fuldendt snit i begyndelsen men begynder at skifte efter en times savning
Forkert stræk i klingen, indføring ikke parallel

Revner i spånrum eller slids
Klingen er sløv, for små spånrum, for mange tænder, forkert indføring/tand

Brud på tandhalsen
Forkert højdeindstilling af klingen, klingen for højt over materialet, for høj indføring, forkert spånvinkel (ved savning af metaller

Klingen giver et rigtigt snit men savudbytte er for uens
For få tænder, for høj indføring, klingen er sløv

Klingen efterlader render i arbejdsemnet
En eller flere tænder har større skærebredde end øvrige, forkert stræk i klingen

Klingen går tungt i materialet
For mange tænder, for lav skærehastighed, klingen er sløv, forkert spånvinkel

Klingen trækker selv materialet frem
Forkert spånvinkel

Belægning af harpiks etc. på klingen
For mange tænder, indføring ikke parallel

Guide til valg af savklinge

Guide til valg af savklinge

Hvis du har brug for at se den komplette guide til valg af klinger, kan du downloade den som PDF her.
  

 

Læs guide Læs guide
Vil du vide mere?

Kontakt værktøjsteamet hos Junget. Vi giver gerne gode råd og vejledning til valg af nye skærende værktøjer.

Find en medarbejder for direkte kontakt

Image name
Kontakt mig, tak
Ønsker du at blive kontaktet, så ringer vi dig gerne op. Venligst oplys dine kontaktinfo i skemaet nedenfor.
Kontakt Junget
Det kræver både visioner og erfaring at skabe kundetilpassede maskin-, værktøjs- og slibeløsninger til industrien, men hos Junget har vi begge dele. Ring til Junget på +45 89365500. - Sammen finder vi en løsning.
Find en medarbejder for direkte kontakt
Martin Andersen
Martin Andersen
Salgschef - Ekstern salg +45 89 36 55 63 man@junget.dk
Mads A. Mønsted
Mads A. Mønsted
Afdelingschef - Intern salg +45 89 36 55 07 mam@junget.dk
Jesper Andersen
Jesper Andersen
Key Account - Tooling +45 89 36 55 18 jea@junget.dk
Preben Kristensen
Preben Kristensen
Key Account - Tooling +45 40 19 33 99 pkr@junget.dk
Ulrich Spliid
Ulrich Spliid
Key Account - Tooling +45 20 20 61 53 uls@junget.dk
Jan Thomassen
Jan Thomassen
Værktøjs- og slibekonsulent- Sjælland +45 89 36 55 66 jct@junget.dk
Even H. Rasmussen
Even H. Rasmussen
Salgskonsulent - Junget Norge +47 905 81 830 even@junget.dk
Knud Lauge Sørensen
Knud Lauge Sørensen
Salgskonsulent, Intern Værktøj +45 89 36 55 62 kls@junget.dk
Christian Krogh Hansen
Christian Krogh Hansen
Salgskonsulent, Intern Værktøj +45 89 36 55 67 ckh@junget.dk
Finn Jensen
Finn Jensen
Konstruktør +45 89 36 55 08 fij@junget.dk
Emil B. Nielsen
Emil B. Nielsen
Konstruktør +45 89 36 55 43 ebn@junget.dk
Trine Johansen
Trine Johansen
Kontorassistent +45 89 36 55 20 tjo@junget.dk
Jakob Ravn
Jakob Ravn
Produktionschef +45 89 36 55 38 jar@junget.dk
Lone Knudsen
Lone Knudsen
Indkøbsansvarlig, Værktøj +45 89 36 55 14 lkn@junget.dk